
PDF Publication Title:
Text from PDF Page: 335
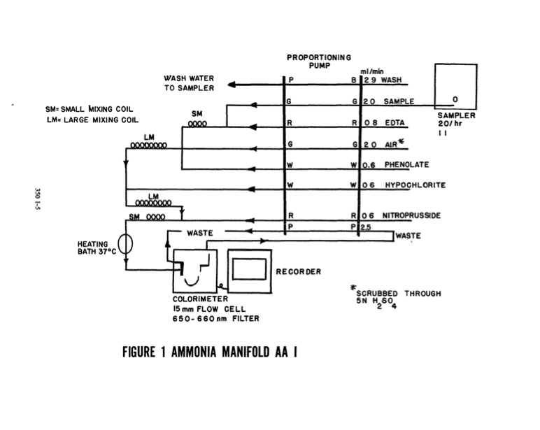
VI -o I VI ~ SM= SMALL fy,IXING C )IL LM= LARGE MIXING ~OIL LM HEATING BATH 37°C ~ ,~ ~ ;l D RECORDER ~ COLORIMETER 15mmFLOW CELL 650- 660 nm FILTER .1. G W W w- W 06 HYPOCHLORITE :D I LM SM ססoo j~ WASH WATER TO SAMPLER SM ooסס P - - R ml/mln B 29 WASH G 20 SAMPLE R 08 EDTA G 20 ALR~ W 0.6 PHENOLATE t r-- WASTE R 0 6 . ., 1':1.... ·v ~SCRUBB~D THROUGH 5N HS0 24 FIGURE 1 AMMONIA MANIFOLD AA I .... -- -- ~ ~ G 0 SAMPLER 20/hr II PROPORTIONIN G PUMP R ~ P P2.5 NITROPRUSSIDE IWASTEPDF Image | Methods for Chemical Analysis of Water and Wastes
PDF Search Title:
Methods for Chemical Analysis of Water and WastesOriginal File Name Searched:
epa600_4_79_020.pdfDIY PDF Search: Google It | Yahoo | Bing
CO2 Organic Rankine Cycle Experimenter Platform The supercritical CO2 phase change system is both a heat pump and organic rankine cycle which can be used for those purposes and as a supercritical extractor for advanced subcritical and supercritical extraction technology. Uses include producing nanoparticles, precious metal CO2 extraction, lithium battery recycling, and other applications... More Info
Heat Pumps CO2 ORC Heat Pump System Platform More Info
| CONTACT TEL: 608-238-6001 Email: greg@infinityturbine.com | RSS | AMP |