logo

Methods for Chemical Analysis of Water and Wastes

PDF Publication Title:

Methods for Chemical Analysis of Water and Wastes ( methods-chemical-analysis-water-and-wastes )

Previous Page View | Next Page View | Return to Search List

Text from PDF Page: 400

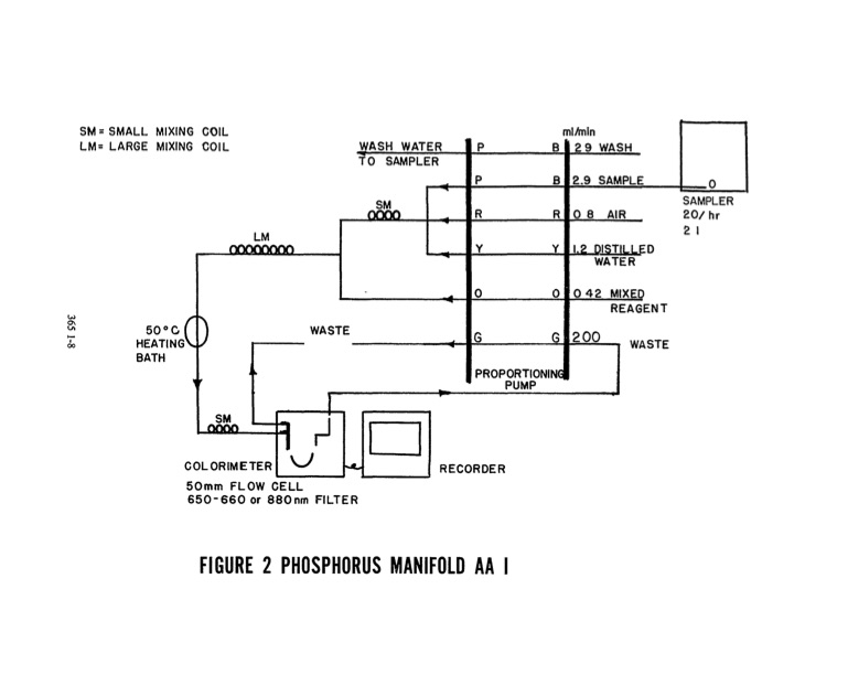
IN 0\ Ul l- I SM=SMALL MIXIN , COIL LM= LARGE MIXIN COIL WASH WATER T O SAMPLER mUmln P B 29 WASH P B 2.9 SAMPLE R R 08 AIR Y Y 1.2DISTILL.ED WATER 0 0 042 MIXED REAGENT 50°C .D 00 HEATING WASTE B A T H ... .. - PROPORTIONINC3 PUMP LM fV.V O L ~O R I M E T E R 50mm FLOW CELL r--.. 650-660 or 880nm FILTER RECORDER I V : : : J ~ I 0 FIGURE 2 PHOSPHORUS MANIFOLD AA I - - G G 200 -§.~- 0 SAMPLER 20/hr 21 I""VYY' WASTE

PDF Image | Methods for Chemical Analysis of Water and Wastes

methods-chemical-analysis-water-and-wastes-400

PDF Search Title:

Methods for Chemical Analysis of Water and Wastes

Original File Name Searched:

epa600_4_79_020.pdf

DIY PDF Search: Google It | Yahoo | Bing

CO2 Organic Rankine Cycle Experimenter Platform The supercritical CO2 phase change system is both a heat pump and organic rankine cycle which can be used for those purposes and as a supercritical extractor for advanced subcritical and supercritical extraction technology. Uses include producing nanoparticles, precious metal CO2 extraction, lithium battery recycling, and other applications... More Info

Heat Pumps CO2 ORC Heat Pump System Platform More Info

CONTACT TEL: 608-238-6001 Email: greg@infinityturbine.com | RSS | AMP